塔斯娱乐资讯网

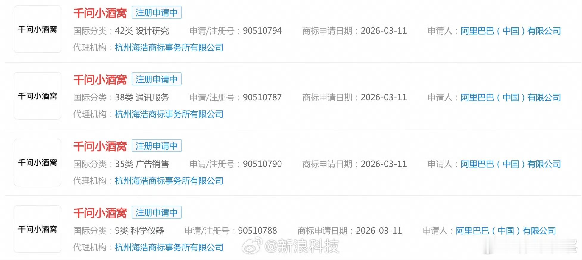
阿里申请千问小酒窝商标阿里这波操作太会了!海报上这小姐姐酒窝绝了,颜值直接出道!

阿里申请千问小酒窝商标阿里这波操作太会了!海报上这小姐姐酒窝绝了,颜值直接出道!别光顾着看脸,“千问小酒窝”这名字一听就有大戏!难道是AI成精了,要搞个“有酒窝的虚拟人”?这哪是发海报,分明是来抢老婆的